مع التزايد المضطرد لحوادث السير و التي أصبحت تتسبب فيها بشكل خاص التكنولوجيا متمثلة في الهواتف الذكية بدأت عدد من شركات التكنولوجيا في البحث عن حلول لهذه المشكلة، و من بين هذه الحلول ما كشف عنه مؤخرا من طرف وسائل الإعلام و المنسوب إلى شركة جوجل.
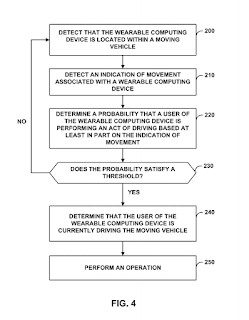
موقع "Android Police " المتخصص أشار إلى أن جوجل وضعت شهر أبريل الماضي براءة اختراع لدى المكتب الأمريكي لبراءة الاختراع، و يتعلق الأمر بنظام بسيط يمكن من التعرف على المستخدم إن كان في حالة سياقة أو أنه متوقف و ذلك عن طريق جهاز ذكي قابل للارتداء سواء تعلق الأمر بساعة ذكية أو بسوار ذكي.
و يقوم الجهاز الذكي القابل للارتداء عن طريق مستشعرات الحركة المدمجة فيه بالتعرف على حالة المستخدم الراكب في السيارة و معرفة ما إن كان في حالة سياقة أو توقف، و بناء على ذلك فإن الجهاز الذي يعمل بالتوافق مع الهاتف الذكي يقوم بوقف و منع الاتصالات و الرسائل النصية القصيرة من أجل عدم تشتيت انتباه السائق و بالتالي تفادي حصول حوادث السير.
و لغاية الساعة لا يوجد أي تأكيد من جوجل حول براءة الاختراع هذه و ما إن كانت ستستعملها في تطبيق أو جهاز جديد و الوقت المحدد لذلك.
موقع "Android Police " المتخصص أشار إلى أن جوجل وضعت شهر أبريل الماضي براءة اختراع لدى المكتب الأمريكي لبراءة الاختراع، و يتعلق الأمر بنظام بسيط يمكن من التعرف على المستخدم إن كان في حالة سياقة أو أنه متوقف و ذلك عن طريق جهاز ذكي قابل للارتداء سواء تعلق الأمر بساعة ذكية أو بسوار ذكي.
و يقوم الجهاز الذكي القابل للارتداء عن طريق مستشعرات الحركة المدمجة فيه بالتعرف على حالة المستخدم الراكب في السيارة و معرفة ما إن كان في حالة سياقة أو توقف، و بناء على ذلك فإن الجهاز الذي يعمل بالتوافق مع الهاتف الذكي يقوم بوقف و منع الاتصالات و الرسائل النصية القصيرة من أجل عدم تشتيت انتباه السائق و بالتالي تفادي حصول حوادث السير.
و لغاية الساعة لا يوجد أي تأكيد من جوجل حول براءة الاختراع هذه و ما إن كانت ستستعملها في تطبيق أو جهاز جديد و الوقت المحدد لذلك.
from موضوع جديد لك http://ift.tt/1KAztNo